Wat als je nooit meer een wachtwoord op een smartwatch hoeft in te voeren? Samsung heeft daar nu alvast een idee voor: door met sensoren te kijken naar de aderen in je pols, herkent een smartwatch zijn drager automatisch. De technologiegigant heeft een patent aangevraagd op de aderherkenning.
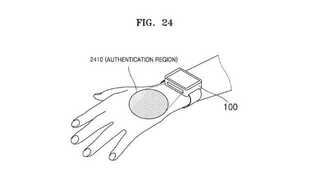
In de aanvraag staat hoe een Samsung-smartwatch kijkt naar aderen en andere aspecten van je huid, om te zien of het wel gaat om jouw pols. Daarmee maakt Samsung in feite een alternatieve ‘vingerafdruk’ van je polshuid. Het authenticatieproces kan met een enkele tap op het scherm worden gestart.

Is de pols eenmaal herkend, dan zou een smartwatch geen authenticatie meer nodig hebben. Dan kan het horloge immers net als bestaande smartwatches met een simpele sensor zien of hij je huid nog aanraakt, om te zien dat hij niet is verwijderd.
Het is nog maar de vraag wat Samsung met dit idee gaat doen. Ze hebben nu het patent in elk geval aangevraagd om de technologie in een smartwatch te integreren, maar of dit ook praktisch haalbaar is moet nog blijken. Ervaring leert dat techbedrijven ook vaak een patent proberen te bemachtigen waar ze vervolgens niks mee doen. Het is dus nog even afwachten.




