In het huidige strijdveld van smartwatches en wearables zijn er opvallende spelers te vinden. Opvallender is het dat de echte machthebbers zich – ondanks de sterke geruchtenstroom – nog steeds niet in de strijd hebben geworpen. Toch zal dat niet lang op zich laten wachten, nu ook uit een opvallende patentaanvraag blijkt dat Microsoft met bijhoorlijk innovatieve plannen bezig is. Hun wearable? Je eigen lichaam.
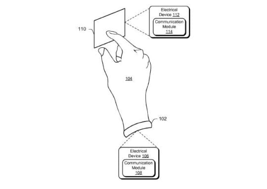
Okay, toegegeven. De uitleg van USPTO Patent #20130149965 A1 is alles behalve in één klap helder. Kort door de bocht komt het er op neer dat Microsoft een “slim electronisch apparaat” heeft uitgevonden wat op het lichaam gedragen kan worden of onderdeel kan zijn van de oppervlakte van een ander draagbare gadget. Denk dus aan een armband, een ring of de cover van je mobiel.
Dat is echter niet het meest spectaculaire. Wat het patent zo intrigerend maakt is dat het apparaatje vervolgens een deel van je lichaam (een arm of vinger, mensen) gebruikt als “communicatie kanaal” om data te verplaatsen van een device naar het andere. Je lichaam als docking station, zeg maar.
Spectaculair, maar ook nog eens veilig: omdat de data via een “vaste verbinding” loopt en niet via een draadloos protocol wordt verzonden is het stukken veiliger dan NFC of Bluetooth.
In het patent lezen we niets over de vorm of het design van de wearable, maar we zien wel enkele hardware specificaties. De nieuwe wearable is feitelijk een mini-computer met eigen processor, geheugen en opslagcapaciteit en beeld- en geluidmogelijkheden.
In navolging van de eerdere geruchten over een aanstaande smartwatch lijkt Microsoft dus in alle gevallen klaar voor de strijd.






