Vergeet Google Glass maar weer – Google heeft een patent dat vele malen verder gaat. In dit patent beschrijft het bedrijf hoe je ooglens kan worden vervangen door een elektronisch alternatief, dat draadloos communiceert met een minicomputer. Op deze manier denkt Google een einde te kunnen maken aan bijziendheid.
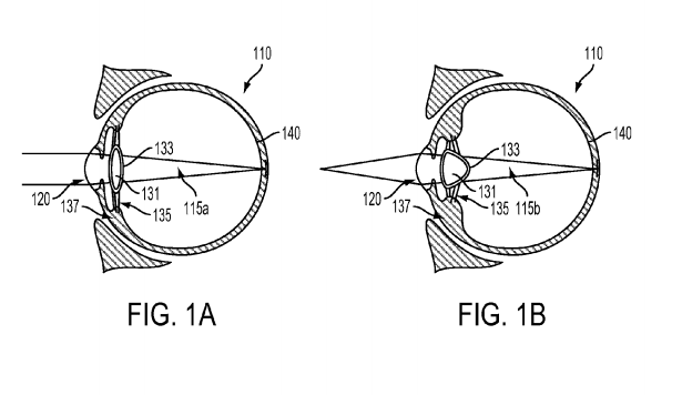
Het klinkt allemaal wat extreem. Je ogen laseren voelt voor velen al als een grote stap, maar Google wil dus dat je de volledige lens laat vervangen. Google zou de gehele lenskit injecteren in het oog, waarna het stofje hard wordt. Daarna zou het materiaal net als een gewone lens functioneren: de vorm verandert om goed scherp te stellen.

Je moet de bijbehorende minicomputer altijd op zak hebben – deze doet namelijk het benodigde rekenwerk. Het apparaatje zou met behulp van Bluetooth met je oog verbinden. Het klinkt allemaal nog vrij futuristisch – dus wij vermoeden dat dit patent pas in de verre toekomst het levenslicht zal zien.
De lenstechnologie klinkt al indrukwekkend, maar wat als Google nog een stap verder gaat? Een computergestuurde ooglens zou immers nog meer kunnen doen naast scherpstellen. De volgende stap zou bijvoorbeeld zijn om Google Glass-achtige technologie rechtstreeks in je oog te implementeren, maar de vraag is natuurlijk of we dat ook echt willen.





