Verschillende bedrijven werken aan de ontwikkeling van drones die pakketjes kunnen bezorgen. Eén daarvan is Amazon en dat bedrijf is druk bezig met het vinden van een oplossing voor de grote uitdaging bij drones: de energievoorziening.
Op dit moment kunnen compacte drones een kwartier tot een uur in de lucht blijven, afhankelijk van het type. Je kunt er natuurlijk een grotere accu in stoppen, maar dan wordt de drone zwaarder en heeft hij dus weer meer energie nodig of zelfs een krachtigere motor. Daarnaast wil je de drone zo licht mogelijk hebben, omdat hij dan zwaardere pakketjes kan versturen. Amazon wil zijn bezorgdrones dus onderweg kunnen opladen.
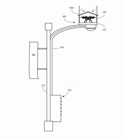
Daarvoor heeft het bedrijf het idee bedacht om drones te kunnen laten landen bij speciale oplaadstations. Deze kunnen bovenop een lantaarnpaal worden gebouwd, maar ook op torens of andere hoge locaties. Hier kan de drone zijn accu even bijladen, maar ook schuilen bij slecht weer. Moet een pakket heel snel worden bezorgd, dan kan het bij zo’n station worden overgegeven aan een andere drone.

Het is op dit moment nog enkel een patent, dat werd opgepikt door de site PatentYogi. Het kan dus best zijn dat de technologie er nooit komt, zeker als je je bedenkt dat hele steden met dit soort stations moeten worden uitgerust. Maar een cool concept is het sowieso.




