Apple is druk bezig met nieuwe producten. Het bedrijf heeft onlang twee patenten ontvangen die kunnen zorgen voor een hele lijn aan nieuwe producten. Een patent voor een gebogen scherm wijst erop dat de iWatch er toch echt gaat komen en een ander patent realiseert een connected home met een Siri-achtige besturing.
Het eerste patent wat Apple toegewezen heeft gekregen legt een nieuwe techniek uit voor gebogen schermen. Het probleem van gebogen schermen is dat het glas in het midden van het scherm vaak dikker is dan aan de randen. Dit zorgt ervoor dat de onderliggende lagen, die ervoor zorgt dat het touchscreen goed werkt, niet overal even goed reageren.
Het nieuwe patent maakt het mogelijk om ook die onderliggende lagen te buigen. Met de huidige technieken raken deze lagen vaak beschadigd wanneer ze gebogen worden. In dit patent staat beschreven hoe deze lagen verhit kunnen worden, zodat ze de goede vorm kunnen krijgen zonder schade op te lopen.
Dit patent zou gebruikt kunnen worden voor gebogen iPhones, golvende schermen of bijvoorbeeld ook de nog steeds niet officieel bevestigde iWatch.
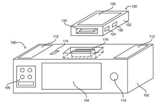
Het tweede patent is voor een ‘smart docking system’ die reageert op spraakcommando’s. het systeem zou verbonden kunnen worden met een smartphone of tablet. In het patent staat beschreven dat het docksysteem onder andere beschikt over een microfoon, speaker, scherm, touch panel en heeft toegang tot Siri.
Het dock ‘luistert’ naar spraakcommando’s en zou kunnen reageren op het knippen met de vingers of op het geluid van klappende handen. Het slimme docksysteem bevat ook omgevingssensoren en GPS en werkt samen met ‘alle draagbare elektronische apparatuur’. Dit apparaat zou dan ook kunnen dienen als centrale hub voor een slim en connected huis.
Beide patenten zijn gevonden door Appleinsider.com.








