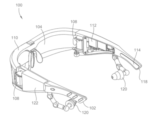
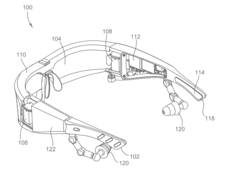
Vorige week werd bekend gemaakt dat Facebook Oculus VR overneemt maar het blijkt dat er recentelijk meer overnames zijn gedaan op het gebied van virtual reality. Microsoft blijkt in november namelijk voor honderdvijftig miljoen dollar patenten voor augmented reality, head-mounted display (HMD) en gerelateerde producten overgekocht te hebben van de Osterhout Design Group.
De Osterhout Design Group (ODG) is een bedrijf dat wearable apparaten en andere gadgets ontwikkelt, voornamelijk voor militaire doeleinden en de overheid. Al eerder werd bekend dat Microsoft mogelijk de ODG wilde overnemen. Nu blijkt echter dat ODG een apart bedrijf zal blijven en dat ze zelfs al bezig zijn met de ontwikkeling van nieuwe technologieën en producten rondom HMD’s waar Microsoft niets mee te maken heeft.
De overheid blijft voorlopig ODG grootste klant maar: “in terms of what we’re doing [at ODG], we don’t make weapons. We make things that can help people do their jobs. The real focus are features that are applicable in the consumer space, too.” Het zou dus zomaar kunnen dat ODG de volgende keer met een ander bedrijf in zee gaat.
Microsoft heeft de overname nog niet officieel bevestigd maar uit het spoor van 81 patenten en 75 patenten-in-aanvraag is af te leiden om wat voor soort producten het gaat. Het is nog niet duidelijk wat Microsoft wil doen met de patenten maar een logische stap zou de ontwikkeling van een eigen HMD zijn bijvoorbeeld voor de Xbox. Bovendien kan Microsoft met deze patenten meeliften op het succes van andere succesvolle producten als er sprake blijkt te zijn van een inbreuk op een van de patenten.
Interessant is dat Zuckerberg vrij negatief is over het stadium dat Microsoft en ook Sony tot dusver bereikt hebben met virtual reality en HMD’s. “Microsoft hasn’t even gotten to the point where they have anything to demo yet. What we basically believe is that unlike the Microsoft or Sony pure console strategies, if you want to make this a real computing platform, you need to fuse both of those things [HMDs and mobile devices or consoles] together.”
Ralph Osterhout, hoofd van ODG, verbaast zich juist over de overname van Oculus VR door Facebook: “I was amazed. What surprised me most is the amount of money, given that it’s not a standalone, complete computing solution…it’s part of a solution that is designed to be plugged into something else.” Vergelijkbaar met de kritiek van Zuckerberg dus maar dan juist over Facebook en de Oculus Rift.
Facebook en Sony met Project Morpheus hebben er in elk geval een serieuze concurrent bijgekregen. Nu maar zien wie het eerst in staat is om een product te creëren dat de potentie heeft om de markt te veroveren. De strijd om onze ogen is nu echt begonnen.








