Eerder vandaag heeft Apple het patent verkregen over een polsband met diverse slimme toepassingen. Aangewakkerd door de wens van het publiek en de opvallende nieuwe personeelsleden blijft een smartwatch van Apple de gemoederen bezig houden en dit patent geeft nieuwe rook. Het is wachten wanneer en óf we ook echt vuur gaan zien.
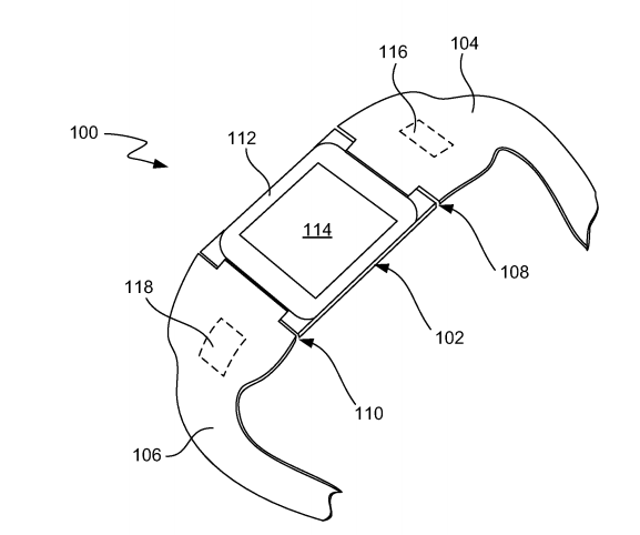
In het patent, eerder vanochtend vrijgegeven door het US Patent & Trademark Office, omschrijft Apple een ‘wearable die om de pols wordt gedragen’, met slimmigheden verwerkt in de bandjes, ondersteuning voor arm- en polsbesturing en connectiviteit met andere hardware in zijn nabijheid.

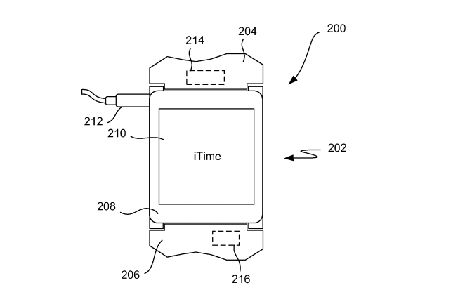
Veel van de originele aanvraag lijkt gebaseerd op de oudere generaties iPod Nano, die ook als horloge konden worden gedragen. Het grootste deel van het patent wijst op een ‘centrale unit’, te plaatsen in een slimme armband. Wie de tekeningen in het patent bekijkt, zal de oude bekende Nano snel herkennen.

Het patent is echter behoorlijk ruim omschreven en verderop wordt pas echt interessant. Zo omschrijft Apple het toepassen van accelerometers, GPS-modules, draadloze communicatie en bewegingsbesturing in de slimme armband.
Daarnaast wijst Apple op het opbouwen van een ‘personal wireless environment’: een ecosysteem waarbij de armband kan verbinden met iPhone, laptop of desktop in de nabijheid.

Hoewel het patent al in 2011 is ingediend en er ogenschijnlijk vooral wordt gekeken naar een slimme armband voor de iPod Nano, biedt het document natuurlijk wel een verfrissend inzicht in het denkproces van Apple.
Door de individuele onderdelen van een wearable of smartwatch los te zien, ontstaan er natuurlijk hele nieuwe mogelijkheden. Gezien het modegevoelige karakter van een smartwatch, zou het kunnen leiden tot verschillende soorten ‘centrale computers’ en een keur aan ‘slimme armbandjes’ in alle vormen en maten.
Of we daadwerkelijk dit jaar nog vuur gaan zien bij alle deze rook blijft nog maar de vraag.
De vaak goed ingevoerde analist Ming-Chi Kuo stelde eerder deze maand nog dat Apple een mogelijke wearable pas in oktober zal presenteren, waarna verkoop pas eind 2014 of begin 2015 zal starten.





