Apple heeft een nieuw patent toegewezen gekregen, waarin het een technologie omschrijft waarin flexibele displays ingezet kunnen worden als besturingselement. Zo kan je scherm dus ook functioneren als fysieke knop of microfoon.
Een nieuwe dag, een nieuw patent. Maar Apple’s laatste toewijzing is op verschillende niveau’s interessant.
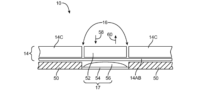
In hun aanvraag omschrijft het Amerikaanse bedrijf een technologie die de besturing van hardware op diverse manieren uitbreidt middels de inzet van flexibele, buigbare schermen.

Zo zouden de schermen over fysieke knoppen kunnen worden geplaatst, zodat deze oneindig aan te passen is in stijl en functie. Denk bijvoorbeeld aan de ‘Home’-toets van je iPhone: app-makers zouden ’toegang’ kunnen krijgen tot deze knop om er extra acties rond te programmeren.
Nog interessanter is het toepassen van flexibele schermen over een speaker of microfoon. Het zou het hele scherm van je huidige smartphone feitelijk veranderen in een fikse speaker of andersom; geluid oppikken door de trillingen van het flexibele scherm.

Apple’s nieuwe patent is echter ook op een andere manier fascineren. Het zorgt er namelijk voor dat Apple extra ‘schermruimte’ kan creëeren op de designs van de huidige hardware, zoals de iPad of iPod.
Meer over Apple’s patent lees je hier!




